Apple Watch

  • 苹果曾花了三年开发安卓版 Apple Watch

    苹果公司透露,该公司曾花了三年时间开发安卓版 Apple Watch 。但该项目因遭遇 “Android 的技术限制” 流产。近日,美国司法部宣布对苹果提起全面反垄断诉讼,当局称苹果在智能手机和智能手表领域妨碍了市场竞争。法官询问的问题涉及 Apple Watch 只能与 iPhone 配对使用。对此,苹果回应称,在过去曾试图使 Apple Watch 与安…

    2024-03-24
    0
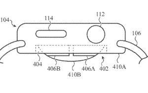
  • Apple Watch 申请「汗液传感器」专利

    苹果公司已向美国专利局申请了 Apple Watch 中的 “汗液传感器” 专利。传感器应该能够测量佩戴者的汗水量。该专利已于 2022 年底提交,申请在本月公布。传感器的工作方式可能与智能手表的 ECG 功能类似。测量 Apple Watch 的汗水可能能够为用户提供对水合作用和压力水平的洞察。根据专利说明书,如果智能手表检测到佩戴者正在锻炼,则可以自动激…

    2024-02-20
    0
  • 被禁售的苹果手表将在美国恢复销售

    软餐获悉,美国联邦巡回上诉法院(CAFC)在当地时间 27 日批准了苹果公司的请求,暂时解除美国国际贸易委员会目前对美国 Apple Watch Series 9 和 Ultra 2 智能手表的进口禁令。这意味着苹果可以恢复在官网和商店销售两款手表。 此前,国际贸易委员会裁定苹果侵犯了 Masimo 公司的血氧传感器技术专利,随后的 12 月 21 日,苹果…

    2023-12-28
    0
  • 苹果被迫在美国停售部分智能手表

    软餐获悉,苹果计划在美国暂停销售 Apple Watch Series 9 和 Apple Watch Ultra 2 智能手表。因为美国国际贸易委员会(International Trade Commission)声称苹果在智能手表中集成血氧传感器时侵犯了一家名为 Masimo 的公司的专利。据悉,停售将从 12 月 21 线上开始,12 月 24 日将在…

    2023-12-19
    0
  • 苹果寻求在越南生产 MacBook 和 Apple Watch

    立讯精密和富士康已开始在越南试产 Apple Watch 。

    2022-08-18
    0
  • Apple Watch 将可用于监测帕金森症状,可提供长时间观察数据

    已获得美国食品和药物管理局(FDA)的许可。

    2022-06-14
    0
  • 苹果发布 iOS 15.1 beta 2:修复 Apple Watch 无法解锁 iPhone 问题

    此前用 Apple Watch 解锁 iPhone 时,用户会遇到 “无法与 Apple Watch 通信” 的提示。

    2021-09-30
    0
  • 苹果:将更新软件以修复 Apple Watch 无法解锁 iPhone 13 问题

    苹果建议用户暂时关闭 “使用 Apple Watch 解锁” 功能,并暂时使用密码解锁。

    2021-09-28
    0
  • Spotify 为 Apple Watch 用户推出音乐/播客离线播放功能

    用户可将播放列表、节目专辑和播客下载到 Apple Watch 上。

    2021-05-23
    0
  • 现在,Apple Watch 用户可通过听写回复 Outlook 邮件了

    本次更新允许用户使用建议回复、听写或涂鸦快速回复电子邮件。

    2021-05-12
    0
  • Apple Watch 助力警方成功解救被绑架妇女

    软餐(ruancan.com)获悉,近日,借助苹果的 Apple Watch,美国警方成功解救了一名被绑架的妇女。 据悉,得克萨斯州塞尔玛的警察接到一个女孩的报警,称她母亲已遭人绑架。女孩说,母亲和阿达贝托·朗格利亚(Adalberto Longoria)在公寓外面吵架,她听到了停车场的尖叫声,但不知道母亲被带到了哪里。大约 10 至 15 分钟后,该女子通…

    2021-01-25
    0
  • watchOS 7.1 正式版发布:耳机音量影响听力通知等

    今天,苹果除了发布了 iOS 14.2 之外,还向 Apple Watch 用户发布了 watchOS 7.1,这是一个非常重要的更新。 据悉,watchOS 7.1 为某些用户带来了一些有趣的新功能。第一个功能是在耳机音量可能影响您的听力时得到通知的功能。 苹果还在这一版本中已解决了一个问题,该问题使某些用户无法使用 Apple Watch 解锁 Mac 。此…

    2020-11-06
    0
  • Apple Watch 上的 Spotify 更新:无需 iPhone 也能用了

    软餐获悉,今天,Spotify 向其在 Apple Watch OS 上的应用程序发布了一项更新,用户现在无需再借助 iPhone 即可通过 Spotify 播放音乐。 在此之前,音乐流媒体服务 Spotify 推出 Apple Watch 应用已有相当长的一段时间,但一直不是一项真正独立的在线音乐应用。今天开始,用户最终可以在跑步时将 iPhone 抛在脑…

    2020-11-04
    0
  • 收藏者曝光第一代 Apple Watch 原型机

    五年前,苹果发布了第一代 Apple Watch,现在这款产品已经迭代到第五代,即 Apple Watch Series 5,价格昂贵。但最近,一位意大利原型收藏家曝光了第一代 Apple Watch 的部分原型,他认为这些原型的价值可能比目前的任何 Apple Watch 都高。 Giulio Zompetti 来自意大利伦巴第,他已经购买了六个第一代 A…

    2020-04-19
    0
  • 专利显示苹果或推出廉价版 Apple Watch:陶瓷纤维表壳

    Apple Watch 是迄今为止最受欢迎和功能最丰富的智能手表。现在有消息称,苹果公司可能正在开发一款价格合理的 Apple Watch,以进一步扩大 Apple Watch 的用户群。 新的 Apple Watch 将采用塑料表壳,并搭配陶瓷纤维以增强耐用性。而苹果目前生产的 Apple Watch 只有两个版本,一种采用钛金属,另一种采用陶瓷机体。 A…

    2020-03-27
    0
  • 疫情下,苹果商店不推荐用户试用 Apple Watch 和 AirPods

    由于新型冠状病毒(COVID-19)的爆发,苹果正在其零售店采取措施,以防止病毒的进一步传播。苹果正在阻止客户在 Apple Store 商店试用其某些产品。 据悉,苹果已经对苹果商店的员工发出通知,不要鼓励客户试用 Apple Watch 或 AirPods 等设备,除非客户向店员主动要求试用。 Apple Watch 和 AirPods 本身需要贴身佩戴…

    2020-03-15
    0
  • Pandora 为 Apple Watch 推出全新独立应用

    潘多拉(Pandora)今天宣布为 Apple Watch 用户推出全新的独立应用程序。使用此新应用程序,用户可以在旅途中欣赏所有音乐和播客,而无需手机。您可以直接从 App Store 下载 Pandora 应用程序。 您可以直接在 Apple Watch 上控制聆听体验,而无需手机。 您还可以轻松地打开喜爱的音乐、调整音量和管理其他播放控件。 如果您订阅…

    2020-02-19
    0