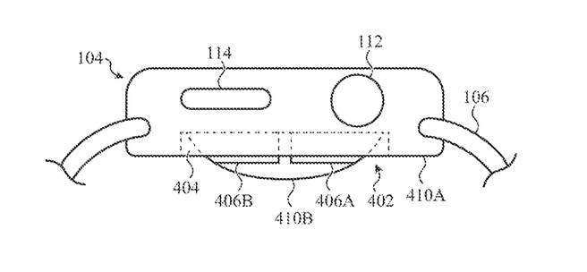
苹果公司已向美国专利局申请了 Apple Watch 中的 “汗液传感器” 专利。传感器应该能够测量佩戴者的汗水量。该专利已于 2022 年底提交,申请在本月公布。传感器的工作方式可能与智能手表的 ECG 功能类似。测量 Apple Watch 的汗水可能能够为用户提供对水合作用和压力水平的洞察。根据专利说明书,如果智能手表检测到佩戴者正在锻炼,则可以自动激活汗液测量。目前尚不确定汗液传感器是否或何时会真正出现在 Apple Watch 中。苹果定期申请专利,但只有一小部分专利申请进入最终产品。此前有消息称,即将推出的 Apple Watch X 可能能够检测睡眠呼吸暂停和高血压。
Apple has filed a patent application with the United States Patent and Trademark Office for a “sweat sensor” in the Apple Watch. The sensor is intended to measure the wearer’s sweat levels. The patent was submitted at the end of 2022 and has been published this month. The functionality of the sensor may be similar to the ECG feature of the smartwatch. Measuring sweat in the Apple Watch could potentially provide users with insights into hydration and stress levels. According to the patent description, the sweat measurement could be automatically activated if the smartwatch detects that the wearer is exercising. It is currently unknown whether or when the sweat sensor will actually appear in the Apple Watch. Apple regularly files patents, but only a small portion of patent applications make it into final products. There have been previous reports suggesting that the upcoming Apple Watch X may be capable of detecting sleep apnea and high blood pressure.

