
软餐(ruancan.com)获悉,近日公布的一项微软的专利显示,微软正尝试让笔记本电脑根据用户的视线自动调整显示角度。
据悉,美国专利商标局近日公布了这项专利,该专利为微软在去年底申请。
消息还称,微软目前已开始研发这种设备,它处于项目的初期阶段。
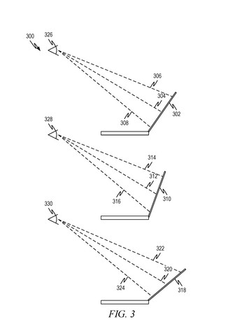
这项专利名为 “基于视角的自动显示调整”,顾名思义,这项技术将考虑用户视线的位置,并自动调整显示角度。当显示器方向发生变化时,系统将测量显示器与用户眼睛之间的距离。并自动调整显示角度,以提供理想的观看角度。
显然,这项技术对于长时间伏案工作的用户非常有用,此外,行动不便的残障人士也很需要这类功能。如果该技术转化为实际的产品,它将有望引领笔记本显示器产业的变革。

