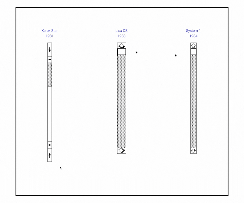
在我们日常使用电脑过程中,滚动条是非常重要、且容易被我们忽视的重要 UI 元素。今天 Sébastien Matos 创建了一个可交互网站,回顾了滚动条的发展历史。该网站回顾了过去 30 年滚动条的发展历史,从 Xerox Star 一直到 Windows 10,让我们一起来回顾下吧。外媒 The Verge 对这些滚动条进行了评分,总分为 10 分。

Xerox Star: 2/10
设计不清晰。箭头的指向和人类习惯的滚动条方向相反。
Lisa OS: 6/10
设计简洁,但是有点宽。在拖动的过程中,滚动位置的重影会为您提供出色的交互式反馈。
System 1: 7/10
迭代改进,宽度比例更好。

Windows 1.01: 5/10
采用独特红色设计非常有趣,但是可能会让用户无法集中注意力。
NeXTSTEP: 6/10
令人失望的箭头位置,但是滚动条位置的实时反馈是一个很好的补充。
Windows 3.0:7/10
设计非常容易阅读。诸多重要功能会吸引您的眼球。

System 7:6/10
与 Windows 3.0 非常相似,但是缺乏高对比度,这点要扣分。
Windows 95:7.5 / 10
对 3.0 版的设计进行了很好的迭代更新。最后,添加实时反馈。
Mac OS 8:5.5 / 10
进一步优化对比度,但底部的箭头位置又退后了。

Mac OS X 10.0:7/10
高对比度和简洁,但是设计上还存在一些问题
Windows XP:7.5 / 10
它拥有一切,干净,清晰。
Windows Vista:8/10
非常优秀的更新。保留了过去 20 年的所有改进。

Mac OS X Lion:5/10
这分给多了。
Windows 10:8.5 / 10
可谓是黄金标准

